| |
地址: |
镇江市红光村陈家门18号 |
| |
联系人: |
陈先生[13952889295] 蒋经理 13805286647 |
| |
传真: |
0511-85393055 |
| |
网址: |
www.zjqhjx.com |
| |
Email: |
1079388228@qq.com |
| |
|
|
|
|
|
| |
|
 |
产 品 说 明 |

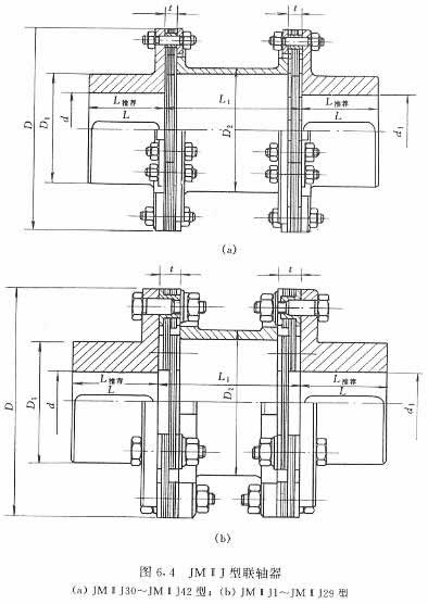
| JMⅡJ型接中间轴型膜片联轴器基本参数和主要尺寸 mm(JB/T 9147-1999) |
| 型号 |
公称扭 矩N.m |
瞬时最大转矩N.m |
最大转速r/min |
轴孔直径 d 1 、d 2 |
轴孔长度 mm |
D mm |
D1 mm |
D2 mm |
重量 kg |
转动
惯量
kg.m 2 |
| J 1 型 |
Y型 |
L(推荐 ) |
| L |
L |
L1 min质量 |
每增加1m |
| JMⅡJ1 |
63 |
100 |
9300 |
20、22、24 |
38 |
52 |
40 |
92 |
70 |
8±0.2 |
2 |
4.1 |
0.002 |
| 25、28 |
44 |
62 |
| 30、32、35、38 |
60 |
82 |
| JMⅡJ2 |
100 |
200 |
8400 |
25、28 |
44 |
62 |
45 |
102 |
80 |
8±0.2 |
2.9 |
4.1 |
0.003 |
| 30、32、35、38 |
60 |
82 |
| 40、42、45 |
84 |
112 |
| JMⅡJ3 |
250 |
400 |
6700 |
30、32、35、38 |
60 |
82 |
55 |
128 |
96 |
11±0.2 |
5.7 |
8 |
0.009 |
| 40、42、45、48、55 |
84 |
112 |
| JMⅡJ4 |
500 |
800 |
5900 |
35、38 |
60 |
82 |
65 |
145 |
116 |
11±0.3 |
8.5 |
8 |
0.017 |
| 40、42、45、48、55、56 |
84 |
112 |
| 60、63、65 |
107 |
142 |
| JMⅡJ5 |
800 |
1250 |
5100 |
40、42、45、48、55、56 |
84 |
112 |
75 |
168 |
136 |
14±0.3 |
12.5 |
12 |
0.034 |
| 60、63、65、70、71、75 |
107 |
142 |
| JMⅡJ6 |
1250 |
2000 |
4750 |
45、48、55、56 |
84 |
112 |
80 |
180 |
140 |
15±0.4 |
16.5 |
12 |
0.053 |
| 60、63、65、70、71、75 |
107 |
142 |
| 80 |
132 |
172 |
| JMⅡJ7 |
2000 |
3150 |
4300 |
50、55、56 |
84 |
112 |
80 |
200 |
140 |
15±0.4 |
21 |
19 |
0.082 |
| 60、63、65、70、71、75 |
107 |
142 |
| 80、85 |
132 |
172 |
| JMⅡJ8 |
2500 |
4000 |
4200 |
55、56 |
84 |
112 |
80 |
205 |
140 |
20±0.4 |
23 |
19 |
0.092 |
| 60、63、65、70、71、75 |
107 |
142 |
| 80、85 |
132 |
172 |
| JMⅡJ9 |
3150 |
5000 |
4000 |
55、56 |
84 |
112 |
90 |
215 |
160 |
20±0.4 |
27 |
21 |
0.117 |
| 60、63、65、70、71、75 |
107 |
142 |
| 80、85、90 |
132 |
172 |
| JMⅡJ10 |
4000 |
6300 |
3650 |
60、63、65、70、71、75 |
107 |
142 |
100 |
235 |
170 |
23±0.5 |
36 |
21 |
0.191 |
| 80、85、90、95 |
132 |
172 |
| JMⅡJ11 |
5000 |
8000 |
3400 |
60、63、65、70、71、75 |
107 |
142 |
100 |
250 |
170 |
23±0.5 |
42 |
26 |
0.252 |
| 80、85、90、95 |
132 |
172 |
| 100 |
167 |
142 |
| JMⅡJ12 |
6300 |
10000 |
3200 |
60、63、65、70、71、75 |
107 |
172 |
110 |
270 |
190 |
23±0.5 |
50 |
26 |
0.349 |
| 80、85、90、95 |
132 |
172 |
| 100、110 |
167 |
212 |
| JMⅡJ13 |
8000 |
12500 |
2850 |
65、70、71、75 |
107 |
142 |
115 |
300 |
200 |
27±0.6 |
66 |
47 |
0.56 |
| 80、85、90、95 |
132 |
172 |
| 100、110 |
167 |
212 |
| JMⅡJ14 |
10000 |
16000 |
2700 |
70、71、75 |
107 |
142 |
125 |
320 |
220 |
27±0.6 |
78 |
47 |
0.75 |
| 80、85、90、95 |
132 |
172 |
| 100、110、120、125 |
167 |
212 |
| JMⅡJ15 |
12500 |
20000 |
2450 |
75 |
107 |
142 |
140 |
350 |
240 |
32±0.7 |
110 |
51 |
1.26 |
| 80、85、90、95 |
132 |
172 |
| 100、110、120、125 |
167 |
212 |
| 130 |
202 |
142 |
| JMⅡJ16 |
16000 |
25000 |
2300 |
90、95 |
132 |
172 |
145 |
370 |
250 |
32±0.7 |
125 |
72 |
1.63 |
| 100、110、120、125 |
167 |
212 |
| 130、140 |
202 |
252 |
| JMⅡJ17 |
20000 |
31500 |
2150 |
90、95 |
132 |
172 |
165 |
400 |
290 |
32±0.7 |
160 |
72 |
2.45 |
| 100、110、120、125 |
167 |
212 |
| 130、140、150 |
202 |
252 |
| 160 |
242 |
172 |
| JMⅡJ18 |
25000 |
40000 |
1950 |
100、110、120、125 |
167 |
212 |
175 |
440 |
300 |
38±0.9 |
220 |
72 |
3.99 |
| 130、140、150 |
202 |
252 |
| 160、170、180 |
242 |
302 |
| JMⅡJ19 |
31500 |
50000 |
1850 |
120、125 |
167 |
212 |
185 |
460 |
320 |
38±0.9 |
245 |
89 |
4.98 |
| 130、140、150 |
202 |
252 |
| 160、170、180 |
242 |
302 |
| JMⅡJ20 |
35500 |
56000 |
1800 |
120、125 |
167 |
212 |
200 |
480 |
350 |
38±0.9 |
275 |
89 |
6028 |
| 130、140、150 |
202 |
252 |
| 160、170、180 |
242 |
302 |
| 190、200 |
282 |
352 |
| JMⅡJ21 |
40000 |
63000 |
1700 |
120、125 |
167 |
212 |
210 |
500 |
370 |
38±0.5 |
320 |
89 |
7.68 |
| 130、140、150 |
202 |
252 |
| 160、170、180 |
242 |
302 |
| 190、200 |
282 |
352 |
| JMⅡJ22 |
50000 |
80000 |
1600 |
140、150 |
202 |
252 |
220 |
540 |
380 |
44±0.1 |
400 |
110 |
11.6 |
| 160、170、180 |
242 |
302 |
| 190、200、220 |
282 |
352 |
| JMⅡJ23 |
63000 |
100000 |
1450 |
140、150 |
202 |
252 |
240 |
600 |
410 |
50±0.1 |
560 |
145 |
19.8 |
| 160、170、180 |
242 |
302 |
| 190、200、220 |
282 |
352 |
| 240 |
330 |
410 |
| JMⅡJ24 |
80000 |
125000 |
1400 |
160、170、180 |
242 |
302 |
255 |
620 |
440 |
50±0.1 |
620 |
145 |
23.6 |
| 190、200、220 |
282 |
352 |
| 240、250 |
330 |
410 |
| JMⅡJ25 |
90000 |
140000 |
1300 |
180 |
242 |
302 |
275 |
660 |
480 |
50±0.1 |
740 |
145 |
31.9 |
| 190、200、220 |
282 |
352 |
| 240、250、260 |
330 |
410 |
| 280 |
380 |
470 |
| JMⅡJ26 |
112000 |
180000 |
1200 |
180 |
242 |
302 |
295 |
720 |
510 |
60±1.4 |
970 |
190 |
50.4 |
| 190、200、220 |
282 |
352 |
| 240、250、260 |
330 |
410 |
| 280、300 |
380 |
470 |
| JMⅡJ27 |
140000 |
200000 |
1150 |
220 |
282 |
352 |
300 |
740 |
520 |
60±1.4 |
1050 |
190 |
57 |
| 240、250、260 |
330 |
410 |
| 280、300 |
380 |
470 |
| JMⅡJ28 |
160000 |
224000 |
1100 |
240、250、260 |
330 |
410 |
320 |
770 |
560 |
60±1.4 |
1200 |
215 |
69.4 |
| 280、300 |
380 |
470 |
| JMⅡJ29 |
180000 |
280000 |
1050 |
250、260 |
330 |
410 |
350 |
820 |
600 |
60±1.4 |
1400 |
215 |
95.5 |
| 280、300、320 |
380 |
470 |
| 340 |
450 |
550 |
| JMⅡJ30 |
280000 |
450000 |
1000 |
280、300、320 |
380 |
470 |
350 |
875 |
620 |
50±1.6 |
1400 |
235 |
96.5 |
| 340、360 |
450 |
550 |
109.5 |
| JMⅡJ31 |
400000 |
630000 |
930 |
300、320 |
380 |
470 |
350 |
935 |
630 |
60±1 |
1800 |
290 |
142 |
| 340、360、380 |
450 |
550 |
152 |
| 400 |
540 |
650 |
162 |
| JMⅡJ32 |
450000 |
710000 |
880 |
320 |
380 |
470 |
380 |
1030 |
690 |
60±1 |
2250 |
330 |
194 |
| 340、360、380 |
450 |
550 |
224 |
| 400、420 |
540 |
650 |
240 |
| JMⅡJ33 |
560000 |
900000 |
820 |
360、380 |
450 |
550 |
400 |
1080 |
726 |
66±2.2 |
2750 |
390 |
271 |
| 400、420、440、450、460 |
540 |
650 |
325 |
| JMⅡJ34 |
1000000 |
1600000 |
740 |
400、420、440、450、460 |
540 |
650 |
460 |
1160 |
836 |
70±2.3 |
3500 |
450 |
387 |
| 460、480、500 |
540 |
650 |
465 |
| JMⅡJ35 |
1400000 |
2240000 |
680 |
440、450、460、480、500 |
540 |
650 |
520 |
1290 |
946 |
82±2.6 |
5000 |
570 |
750 |
| 530、560 |
680 |
800 |
810 |
| JMⅡJ36 |
2000000 |
3150000 |
620 |
480、500 |
540 |
650 |
570 |
1410 |
1040 |
92±2.8 |
6600 |
710 |
1050 |
| 530、560、600 |
680 |
800 |
1290 |
| JMⅡJ37 |
2800000 |
4000000 |
570 |
450、460、480、500 |
540 |
640 |
610 |
1530 |
1100 |
105±3 |
8400 |
880 |
1630 |
| 530、560、600、630 |
680 |
800 |
1950 |
| JMⅡJ38 |
4000000 |
6000000 |
520 |
560、600、630 |
680 |
800 |
670 |
1670 |
1210 |
115±3.7 |
11000 |
1050 |
2670 |
| 670、710 |
780 |
- |
3030 |
| JMⅡJ39 |
5000000 |
8000000 |
480 |
600、630 |
680 |
800 |
730 |
1830 |
1320 |
125±3.7 |
14500 |
1350 |
4060 |
| 670、710、750 |
780 |
|
4800 |
| JMⅡJ40 |
6300000 |
10000000 |
430 |
670、710、750 |
780 |
- |
800 |
2000 |
1450 |
130±4 |
19000 |
1600 |
6600 |
| 800、850 |
880 |
- |
7500 |
| JMⅡJ41 |
8000000 |
12500000 |
400 |
750 |
780 |
- |
800 |
2200 |
1600 |
140±4.4 |
25000 |
1850 |
10400 |
| 800、850 |
880 |
- |
11900 |
| JMⅡJ42 |
10000000 |
16000000 |
350 |
800、850 |
880 |
- |
960 |
2400 |
1760 |
140±4.4 |
32000 |
2100 |
15200 |
| 900、950 |
980 |
- |
17400 |
| |
|
 |
上一个产品:
WGC型鼓形齿式联轴器
下一个产品:
联轴器轴孔和联结形式
返回上级产品 |
| 点击数:14199 录入时间:2008-11-12 【打印此页】 【关闭】 |
|
|
|